カートに入っている商品
❌
商品詳細
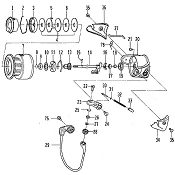
- ※パーツは全て取り寄せの為、キャンセルは固くお断りいたします。よくご検討の上、ご注文をお願いいたします。お取り寄せにお時間を頂く場合がございますので、予めご了承下さい。
メーカー品番
110:622
ナチュラム商品番号
288757
ジャンル
お客様レビュー
0.0レビュー件数:2件
初心者(0) 経験者(0)
5
4
3
2
1
レビューを投稿する
レビューはナチュラム会員様のみ行えます
- ご購入者様
- 上級者
2011.03.05
fe...様
ローターナット部にベアリングを搭載していない機種用に購入。ベアリング化することで若干回転がスムーズになった気がします。
- ご購入者様
- 上級者
2010.11.30
s1...様
Cyのチューンアップに購入しました。 自作でチューンすれば、リールにも愛着が出ました。
ナチュラムオススメ情報

