カートに入っている商品
❌
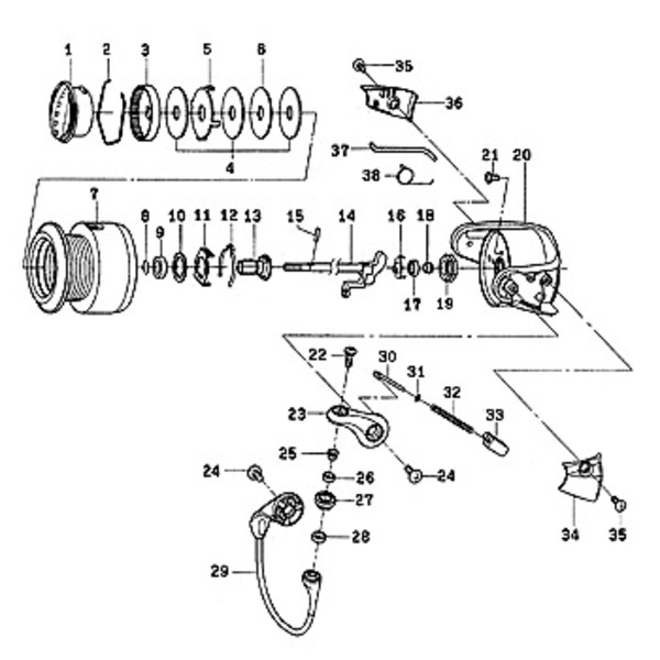
商品詳細
- ※パーツは全て取り寄せの為、キャンセルは固くお断りいたします。よくご検討の上、ご注文をお願いいたします。お取り寄せにお時間を頂く場合がございますので、予めご了承下さい。
メーカー品番
160:455
ナチュラム商品番号
290627
ジャンル
お客様レビュー
0.0レビュー件数:1件
初心者(0) 経験者(0)
5
4
3
2
1
レビューを投稿する
レビューはナチュラム会員様のみ行えます
- ご購入者様
- 上級者
2014.05.30
p9...様
他のリールの改造用に購入。
ナチュラムオススメ情報

