カートに入っている商品
❌
商品詳細
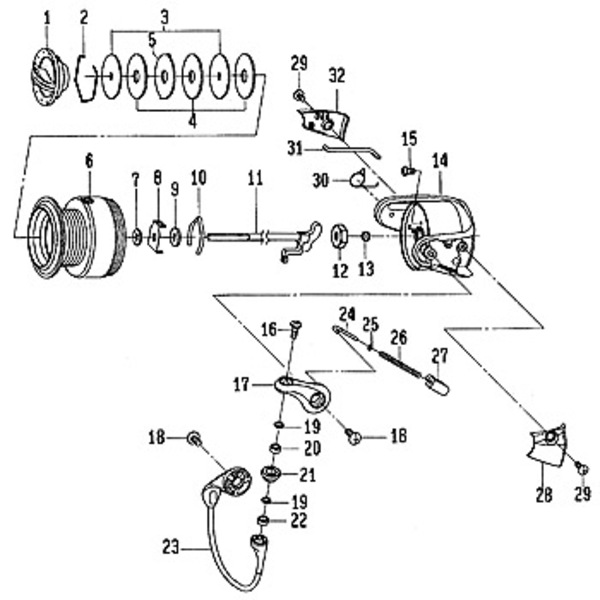
- ※パーツは全て取り寄せの為、キャンセルは固くお断りいたします。よくご検討の上、ご注文をお願いいたします。お取り寄せにお時間を頂く場合がございますので、予めご了承下さい。
メーカー品番
10E:138
ナチュラム商品番号
302185
ジャンル
お客様レビュー
0.0レビュー件数:1件
初心者(0) 経験者(0)
5
4
3
2
1
レビューを投稿する
レビューはナチュラム会員様のみ行えます
- ご購入者様
- 上級者
2010.02.12
dw...様
レガリスのラインローラーのCRBB化の為に購入しました。 改造後、使用するのが楽しみです。
ナチュラムオススメ情報

