カートに入っている商品
❌
商品詳細
- ※パーツは全て取り寄せの為、キャンセルは固くお断りいたします。よくご検討の上、ご注文をお願いいたします。お取り寄せにお時間を頂く場合がございますので、予めご了承下さい。
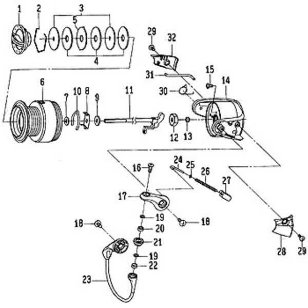
メーカー品番
10E:138
ナチュラム商品番号
302252
ジャンル
お客様レビュー
0.0レビュー件数:2件
初心者(0) 経験者(0)
5
4
3
2
1
レビューを投稿する
レビューはナチュラム会員様のみ行えます
- ご購入者様
- 上級者
2010.06.17
os...様
カルディアのラインローラーをBB化のため購入 大きな効果は感じられないが、以前よりスムーズに回る気がします。
- ご購入者様
- 上級者
2009.04.05
ka...様
カルディアキックス用に買いました。 吊るしのリールがイヤな方の自己満足アップには必ず必要です。 もちろん性能アップもしますが(笑)
ナチュラムオススメ情報

